35age软件产品共享平台
一个专注以产品思维交付成果本地化、省成本的软件资源中心
招采平台
优先本地服务
沈阳市、大连市、鞍山市、抚顺市、本溪市、丹东市、锦州市、营口市、阜新市、辽阳市、盘锦市、铁岭市、朝阳市、葫芦岛市
持续增加中...
可微信/可电话
TEL:13610889800
产品推荐
业务审批流程系统
针对日常审批流程、项目审批流程等业务场景,建立的业务流程平台。其区别oa系统,他是一个独立的业务流程管理系统,专门用来对一些项目流程、申请类进行定制审批。其简单不臃肿,可独立部署也可以云端部署。
PC
移动调查
它是一款针对日常巡查、巡检工作的小程序,可对不安全信息、不安全状态进行拍照上传,并及时跟进。比如管线巡查、防火巡查、危险源巡查等。
小程序
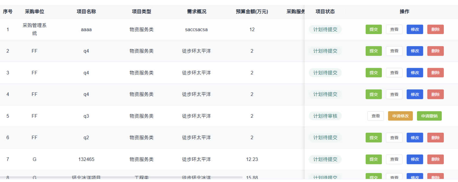
招采平台
满足集团式或单体企业,实现从需求发起、招标任务管理、报价、合同管理等全过程。它是一个轻量型的招采平台,在保证了招采主流程的同时,能够以简洁高效的方式,告别繁杂不必要的流程完成招采工作。
PC